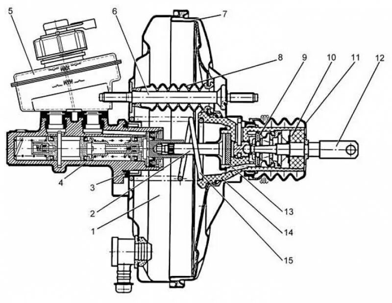
Регулировка главного тормозного цилиндра