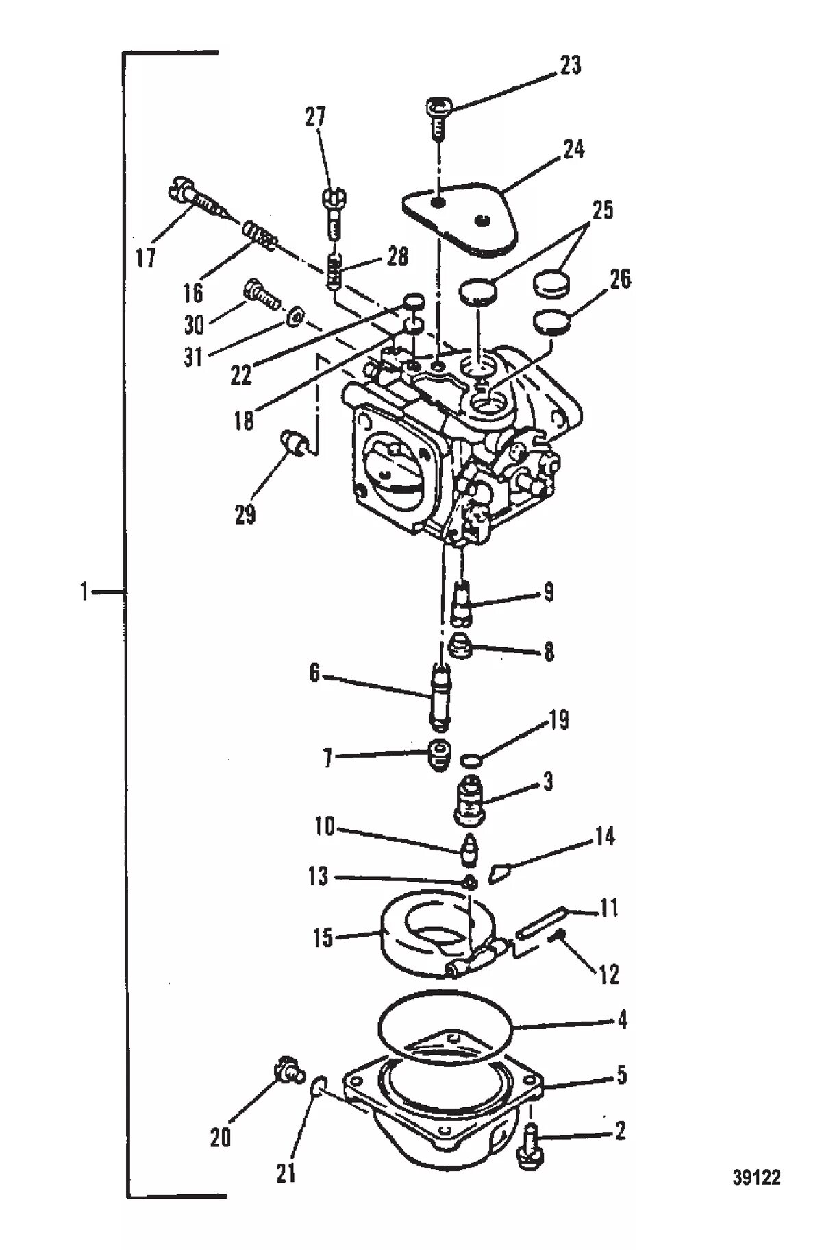
Регулировка 2х тактного карбюратора