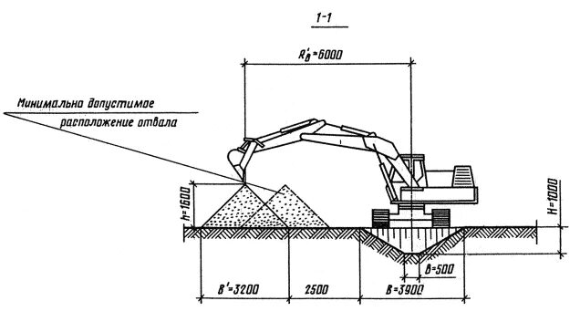
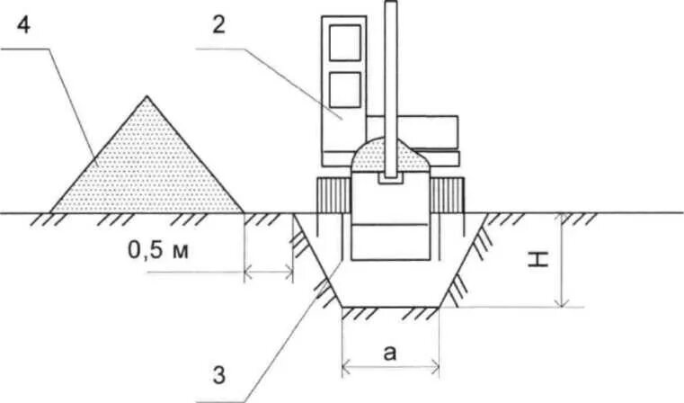
Разработка траншеи в отвал