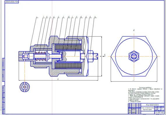
Разрабатываемого устройства разработана полная