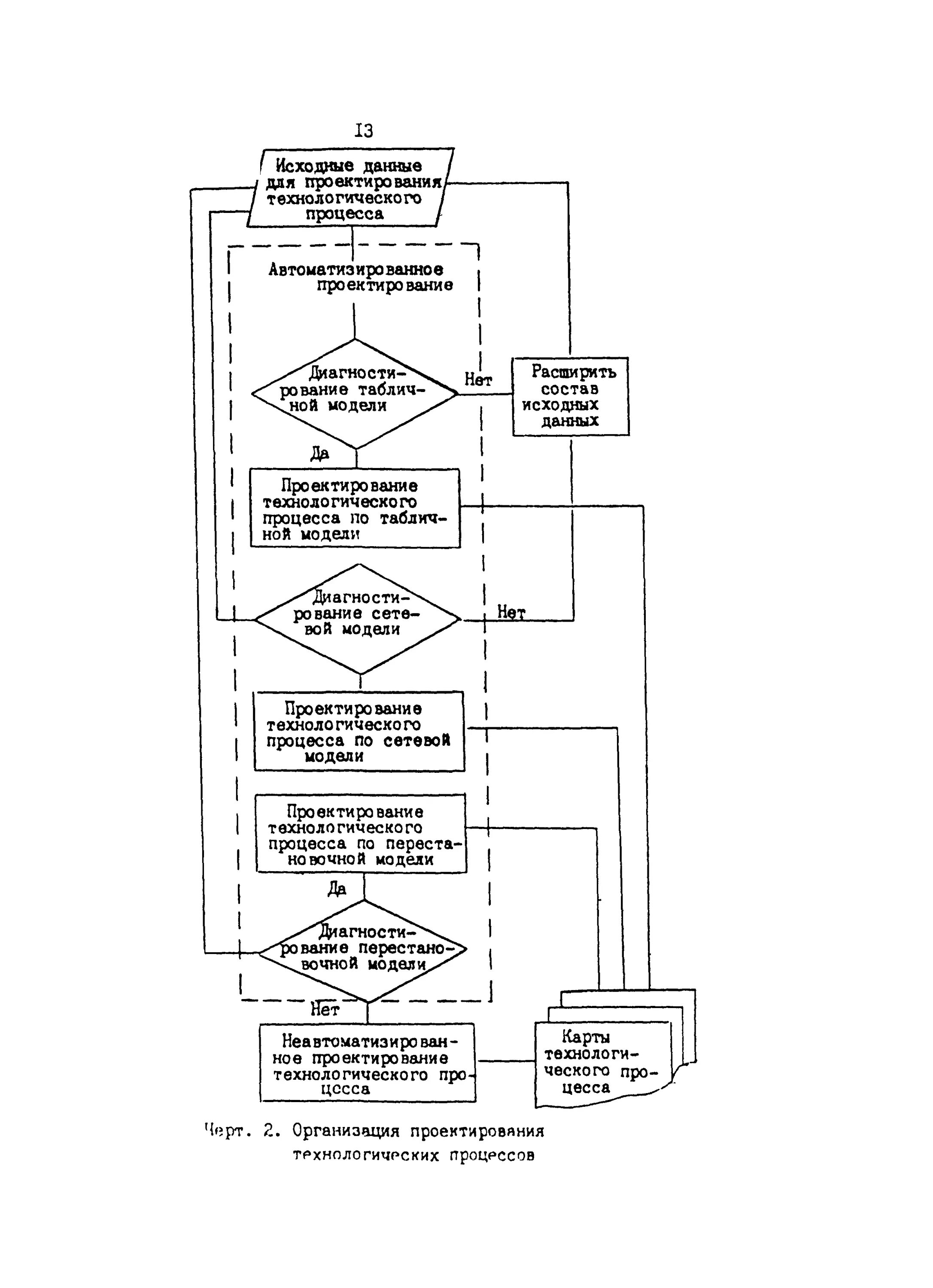
Расчет исходных данных для проектирования