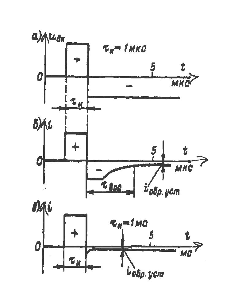
Пульсирующий режим