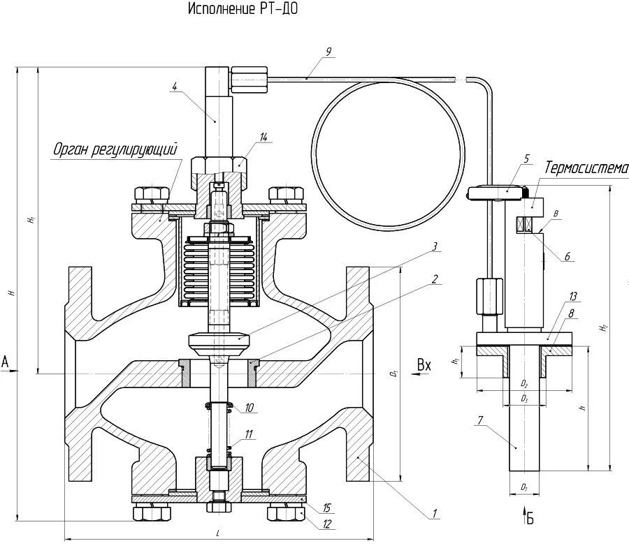
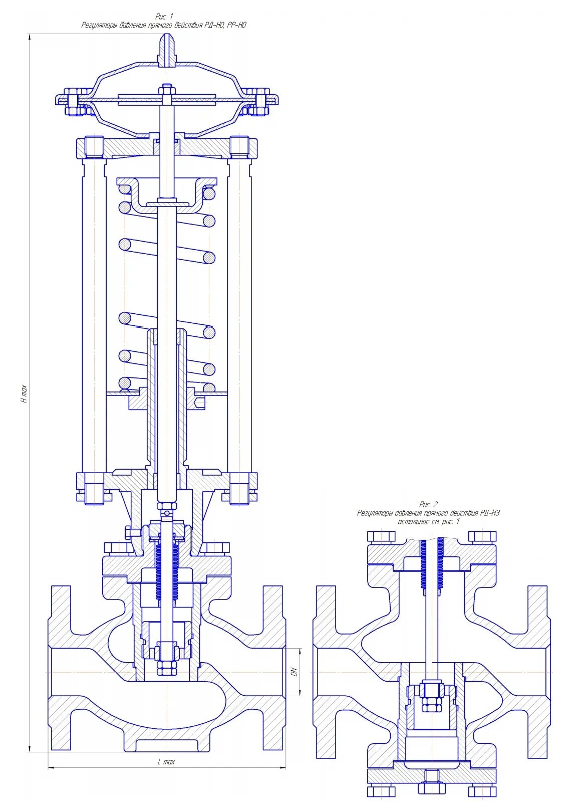
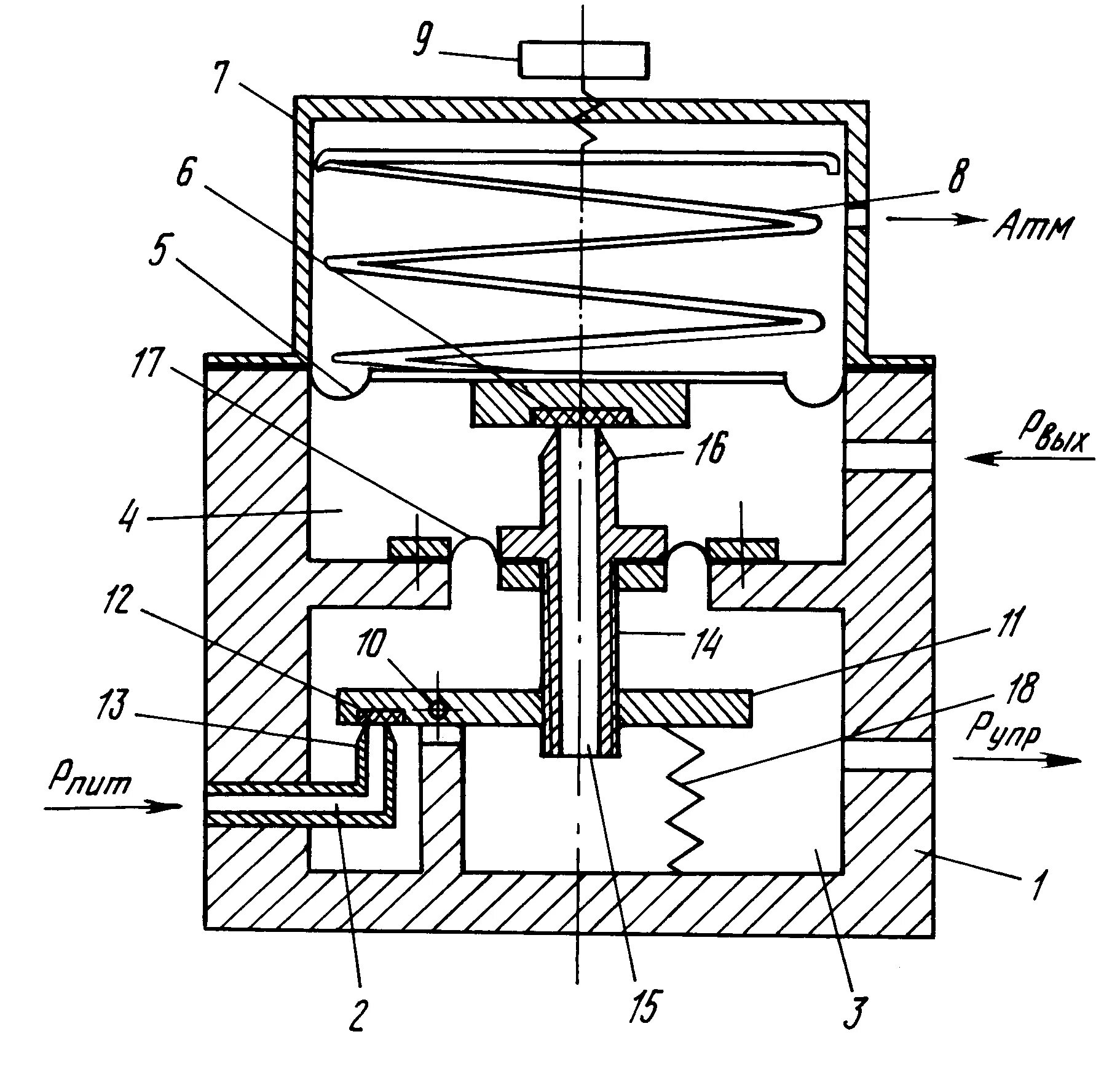
Прямой регулятор