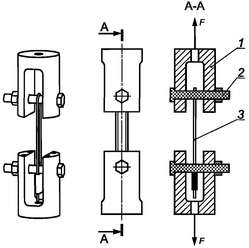
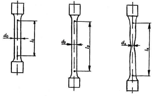
Проведите испытание на разрыв