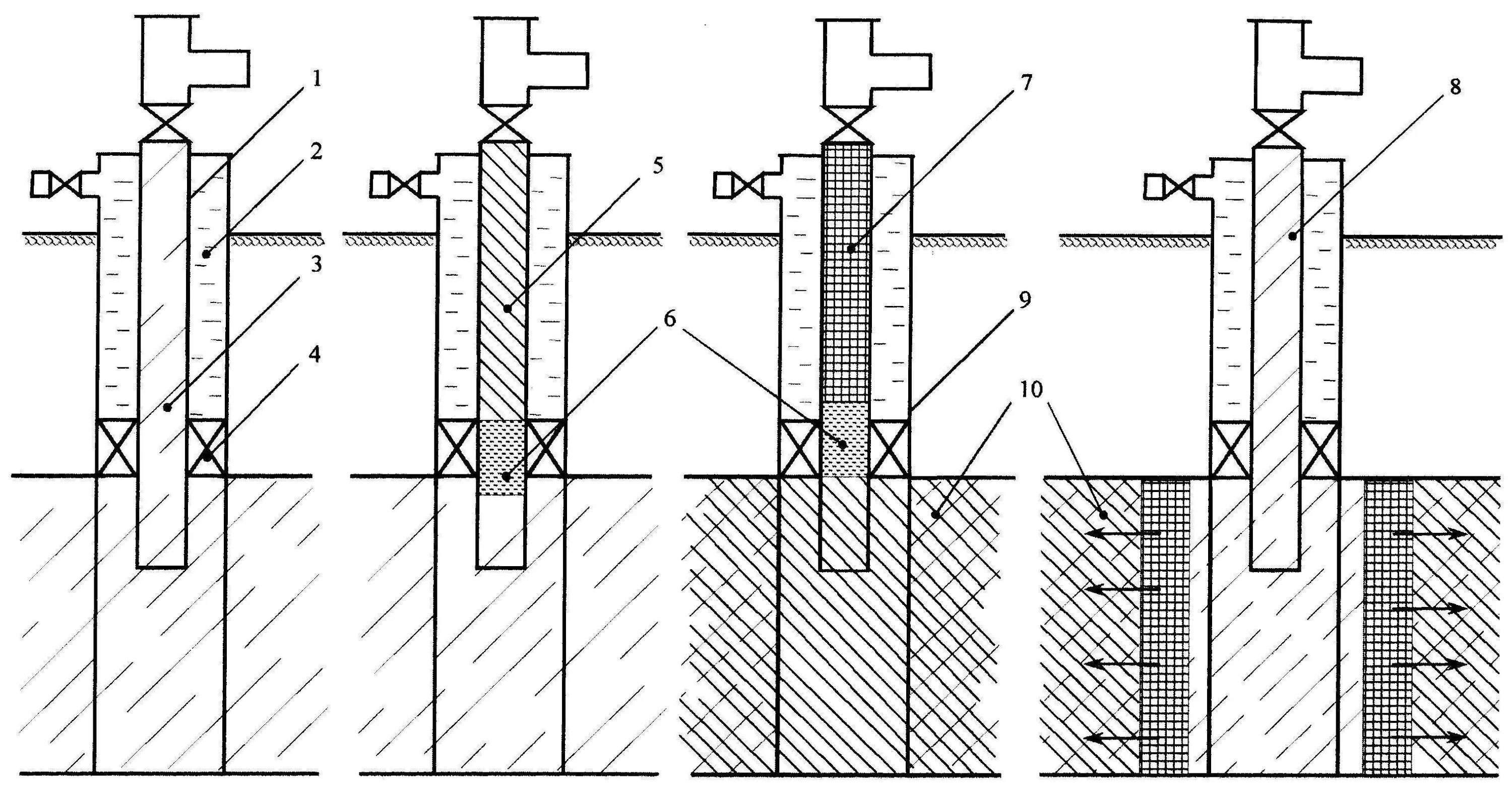
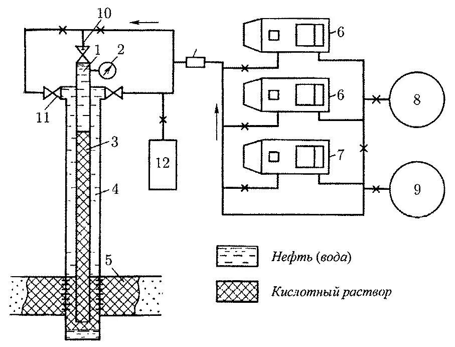
Проведение соляно кислотной обработки