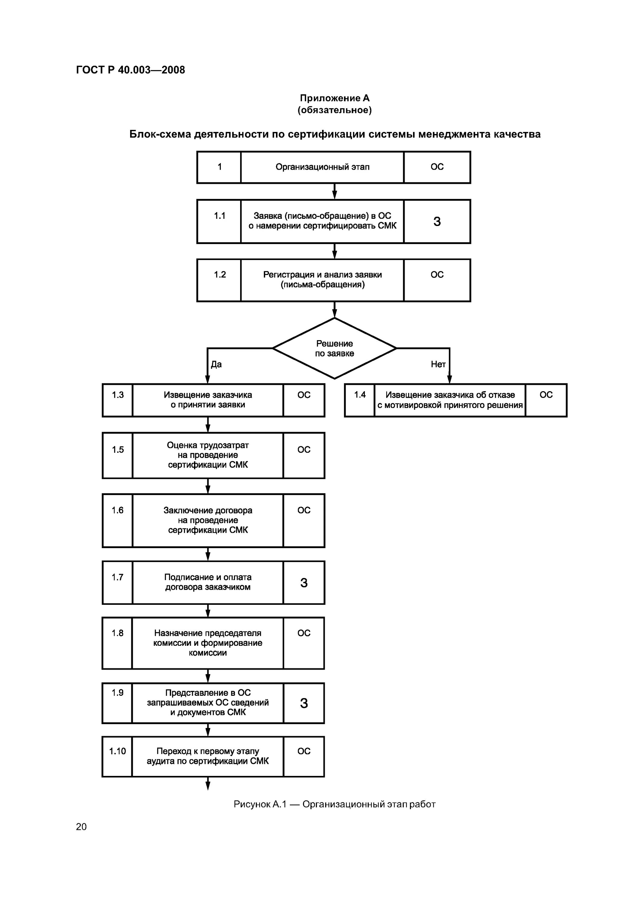
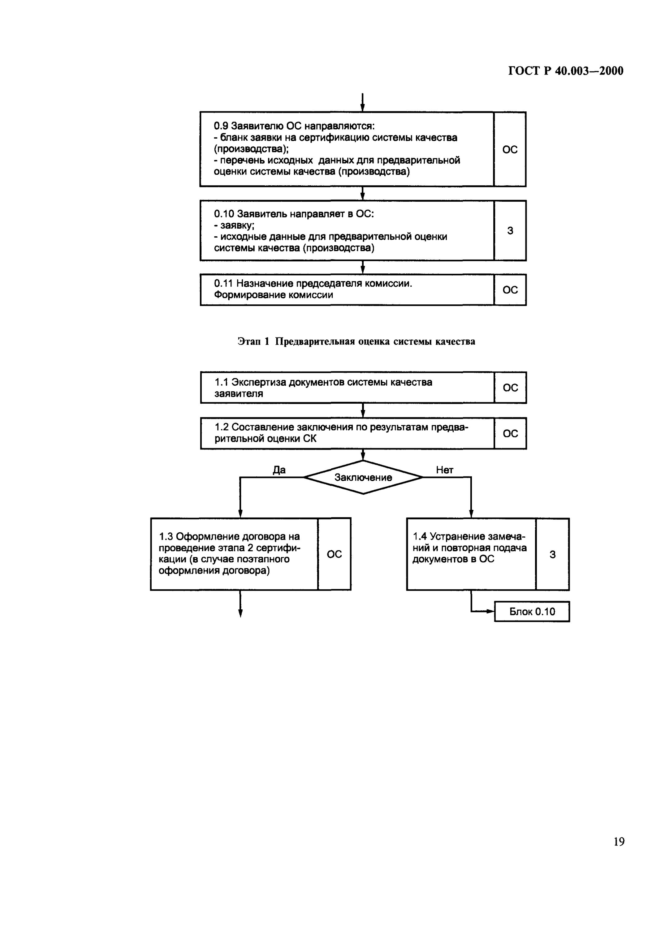
Проведение сертификации систем качества