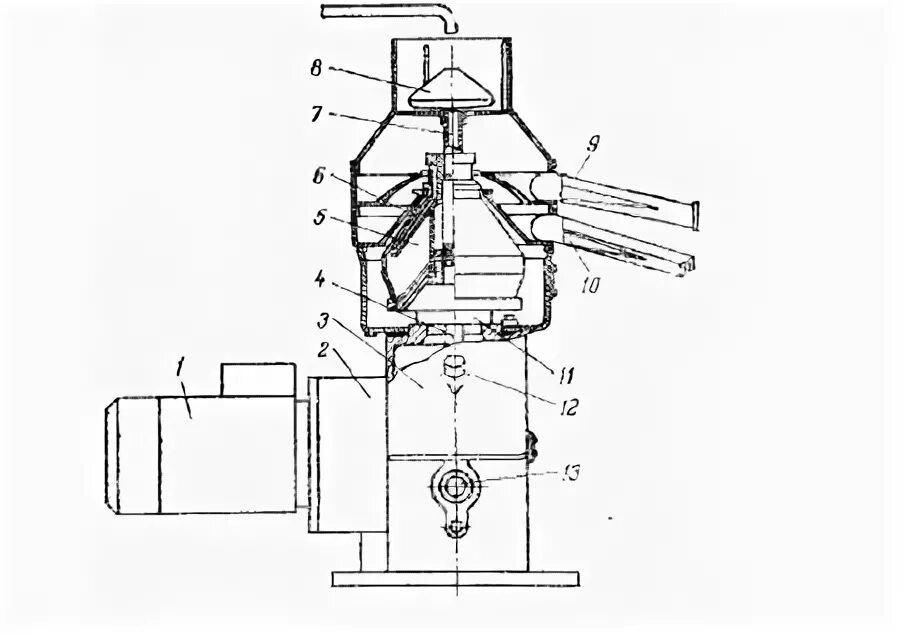
Процесс сепарирования молока