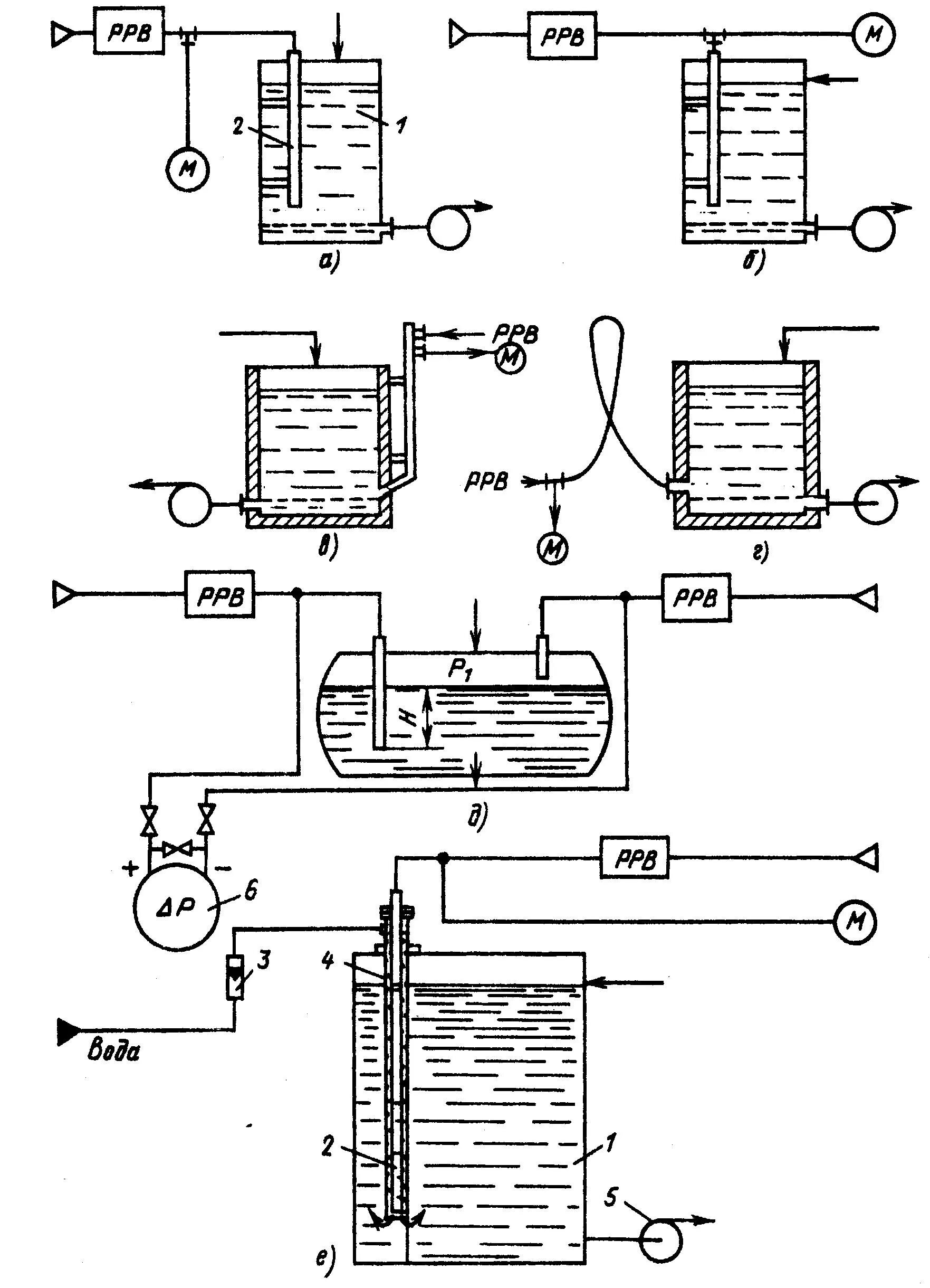
Процесс измерения уровня