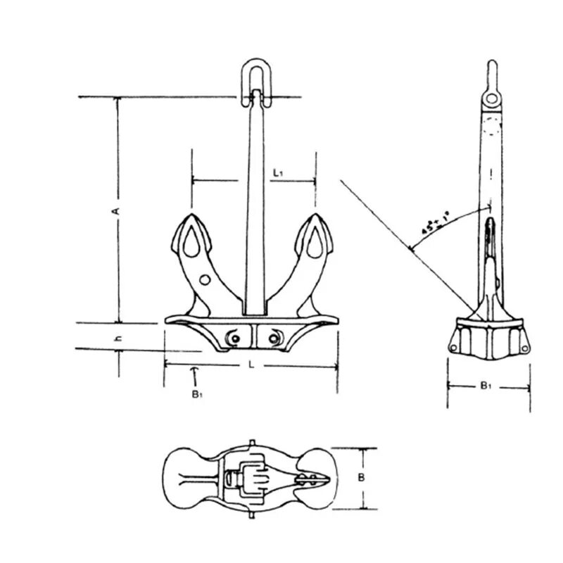
Пространственный якорь