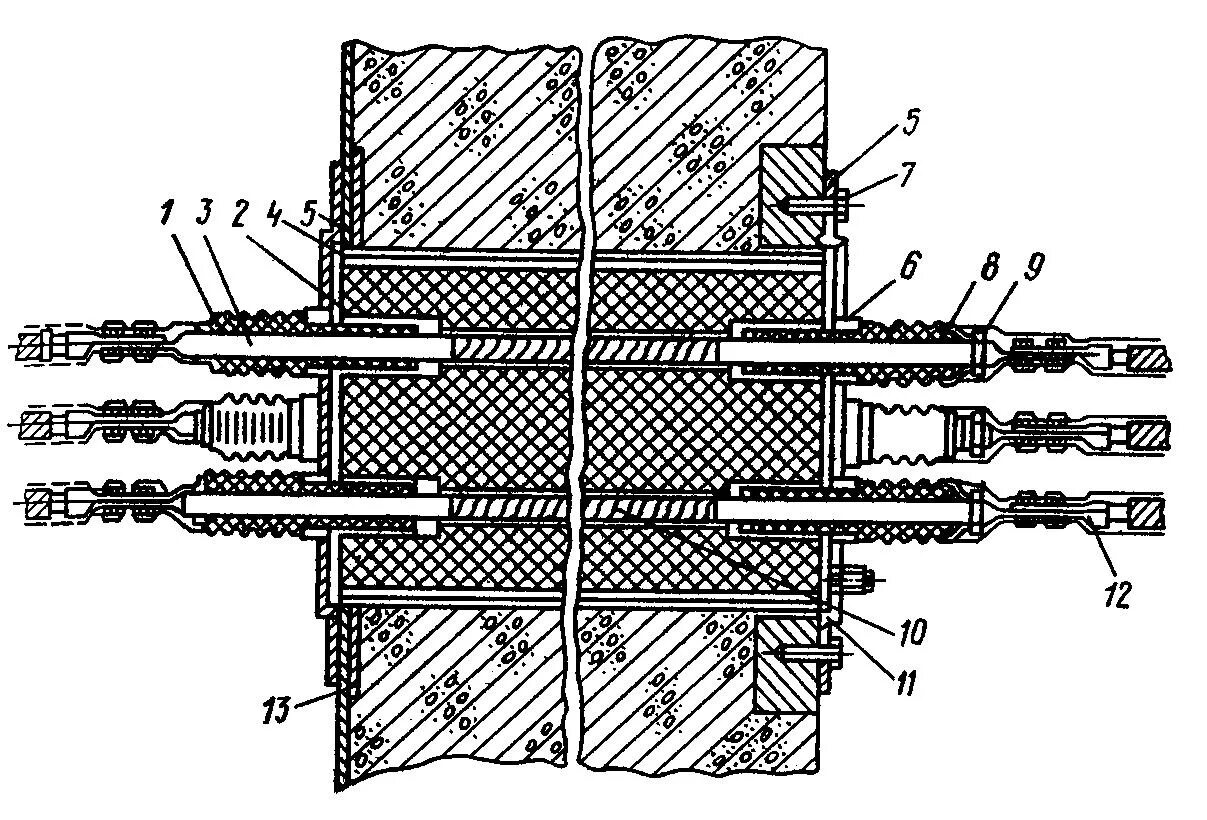
Проход кабелей через перекрытия