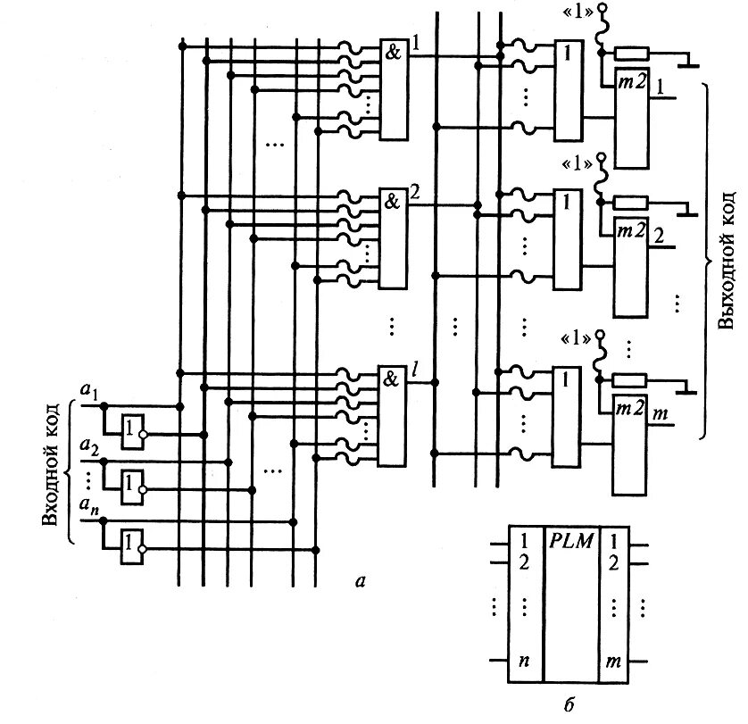
Программируемые матрицы