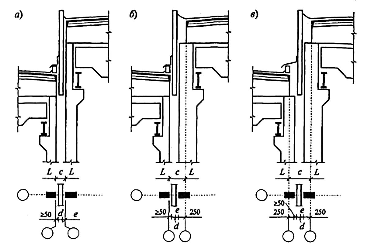
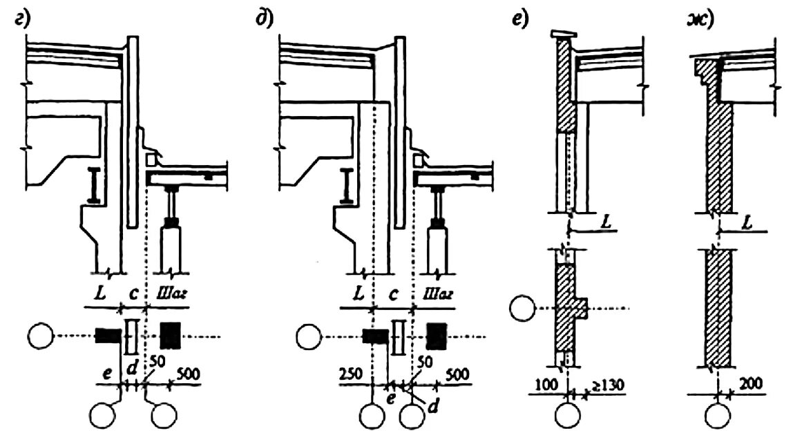
Привязки конструктивных элементов здания к осям