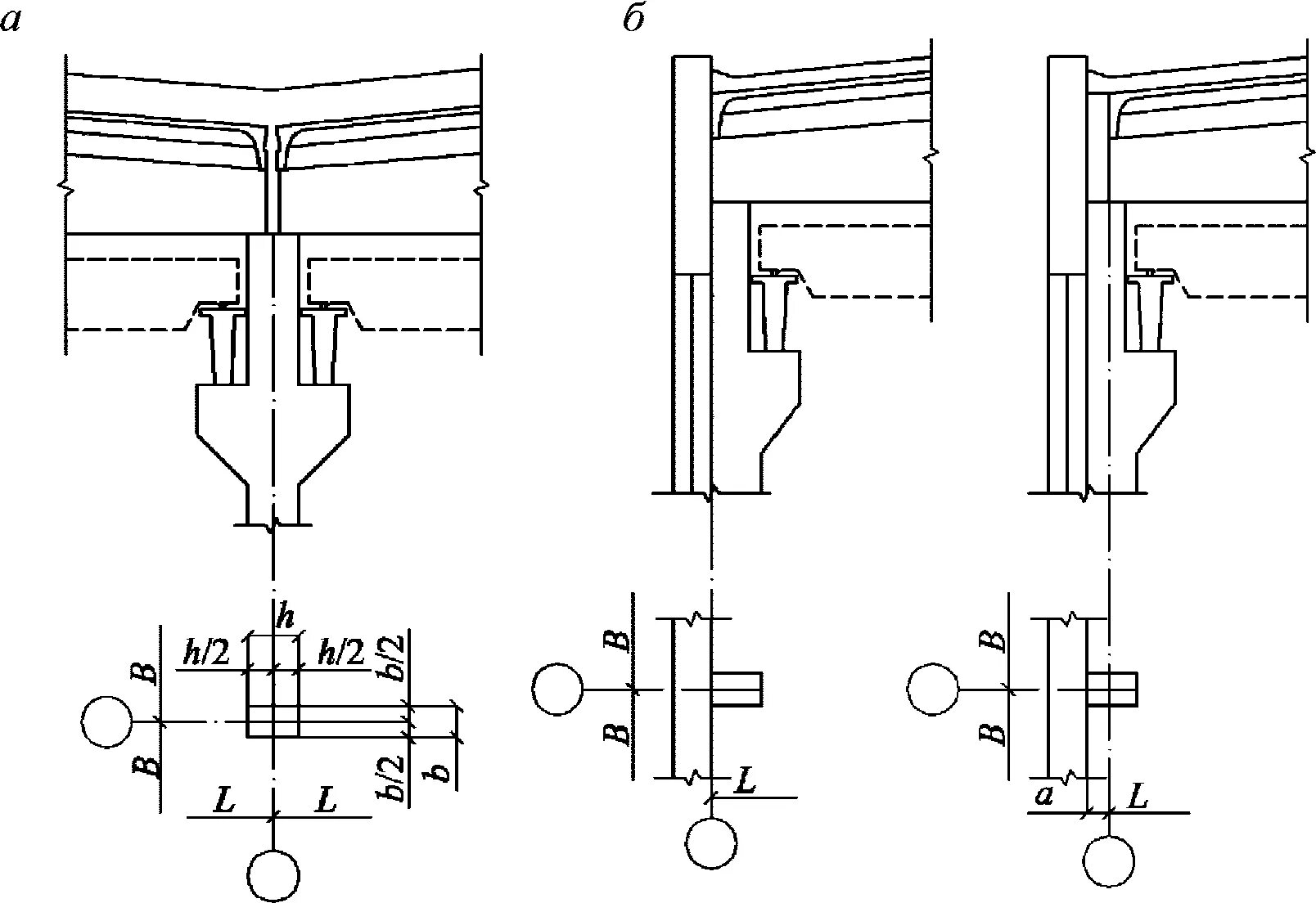
Привязка конструктивных элементов к координационным осям