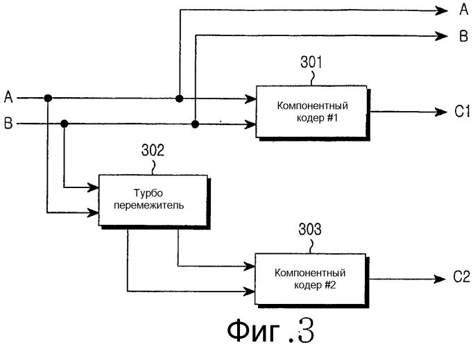
Приветственное задание кодер