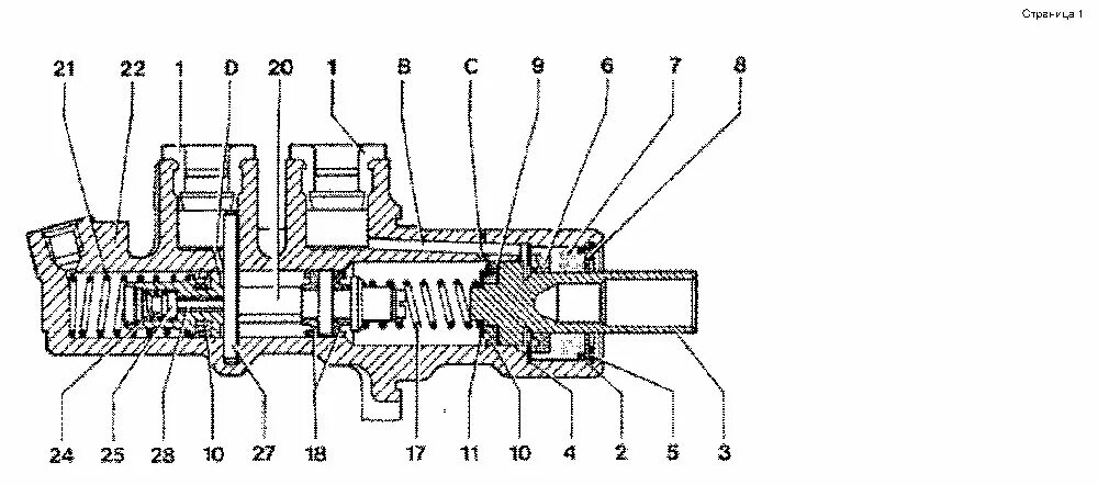
Принцип работы главного тормозного цилиндра