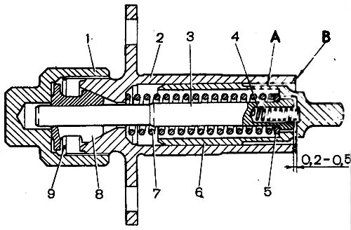
Принцип работы гидронатяжителя