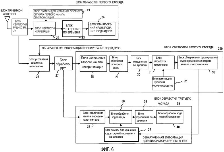
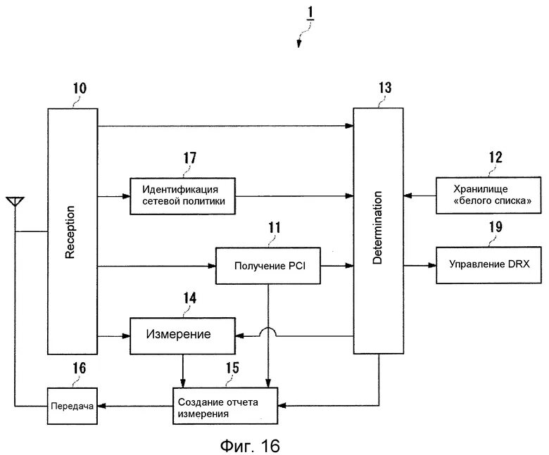
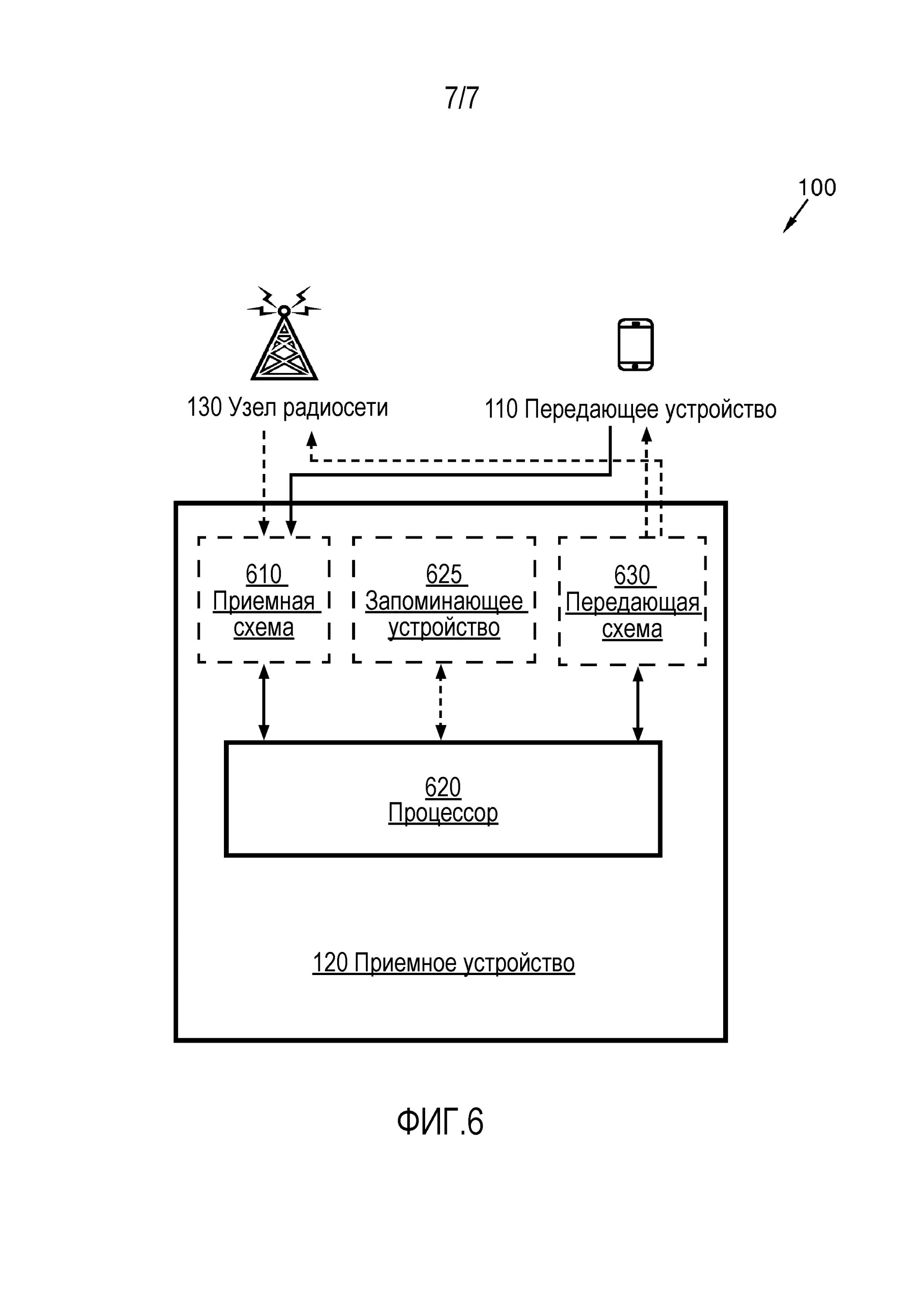
Приемно передающее