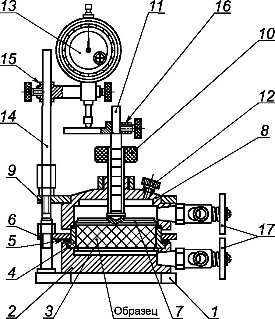
Прибор для определения фильтрации