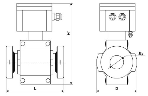
Преобразователь прэм 32