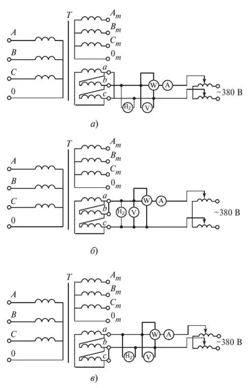
Потери холостого хода трансформаторов напряжения