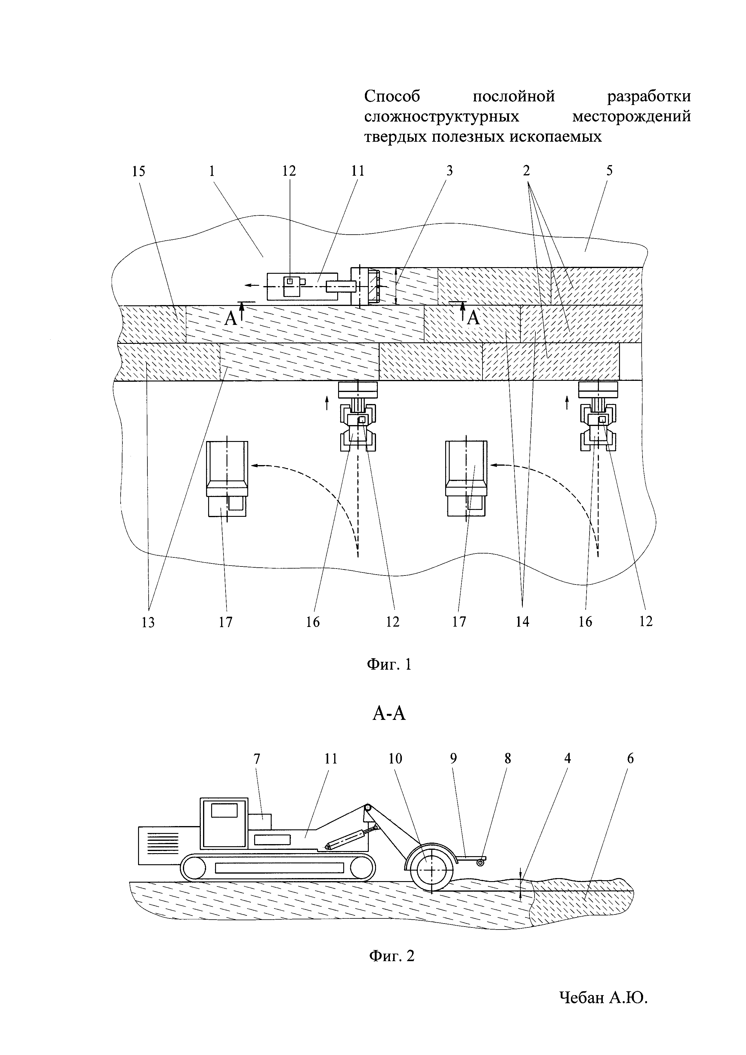
Порядок разработки месторождений полезных ископаемых