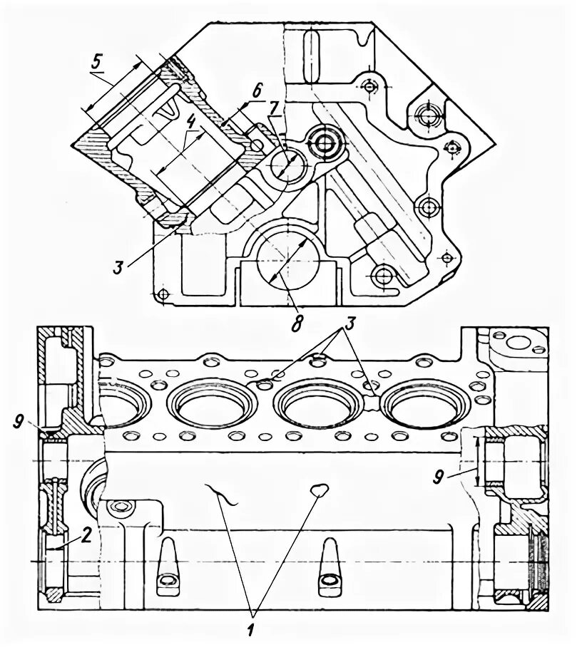
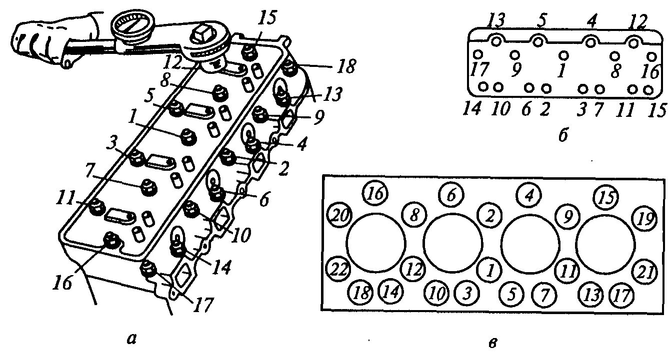
Порядок работы двигателя зил