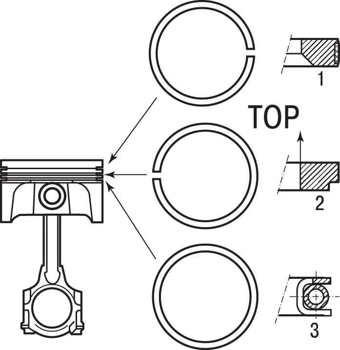
Порядок поршневых колец