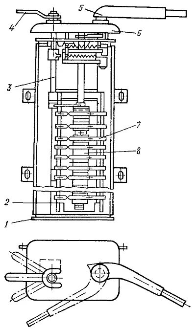
Положение реверсивной рукоятки