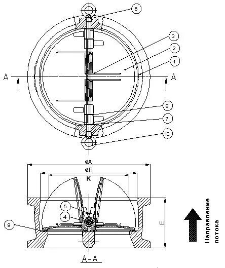
Положение двухстворчатого клапана