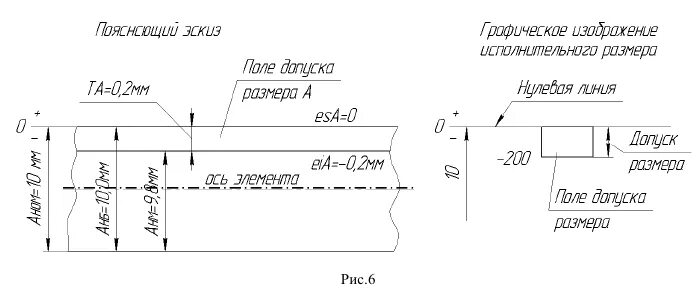
Поле допуска размера