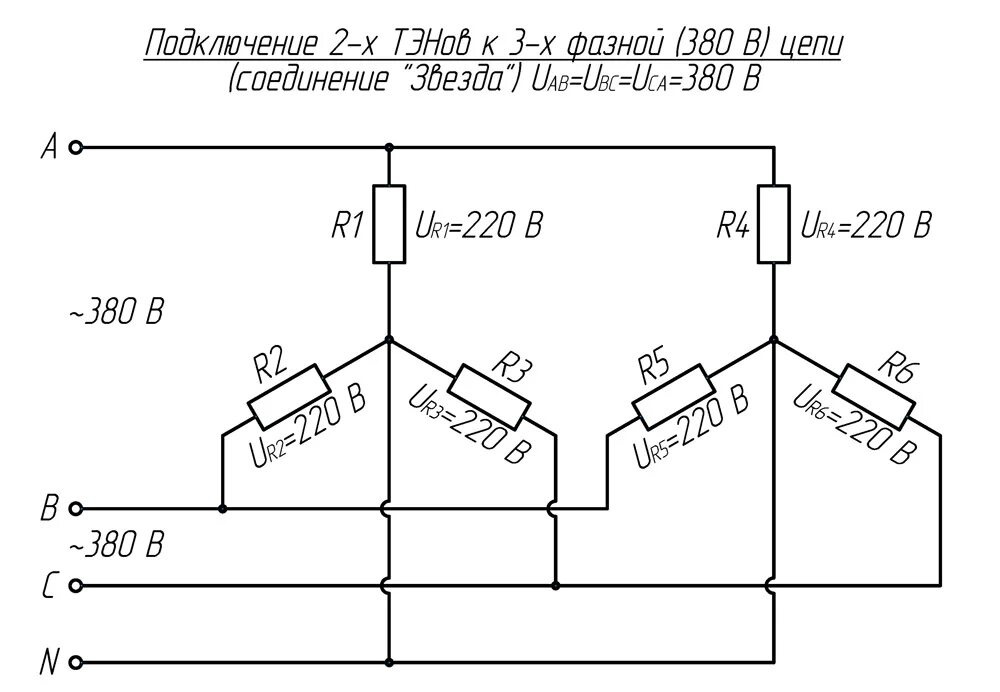
Подключение тэна без ноля