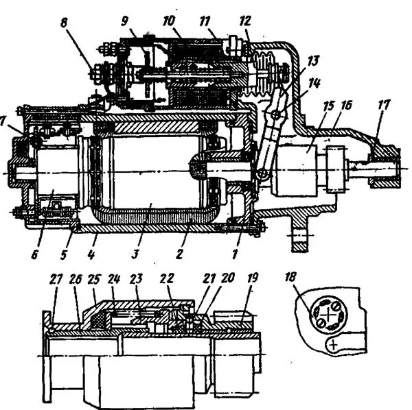
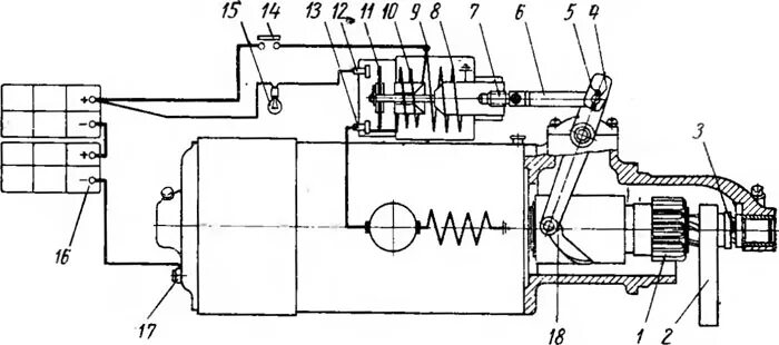
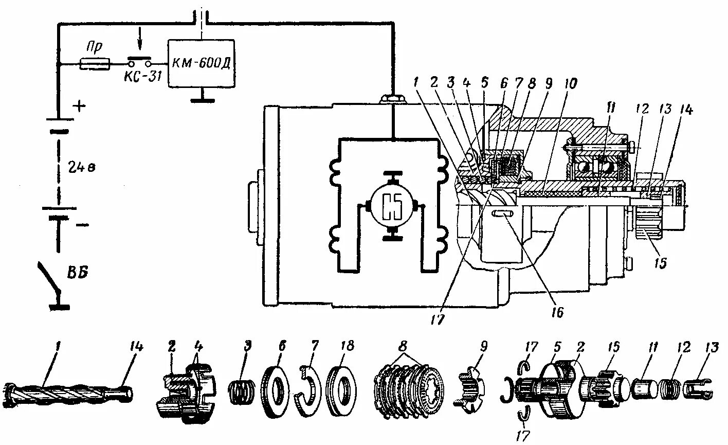
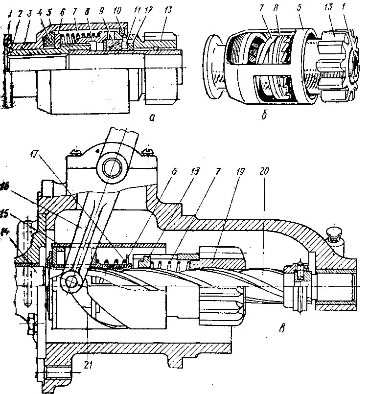
Подключение стартера маз