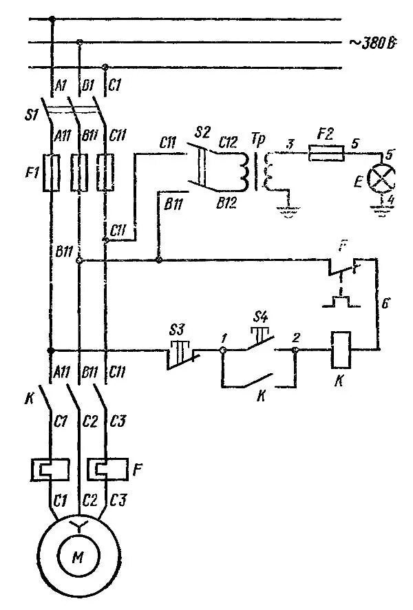
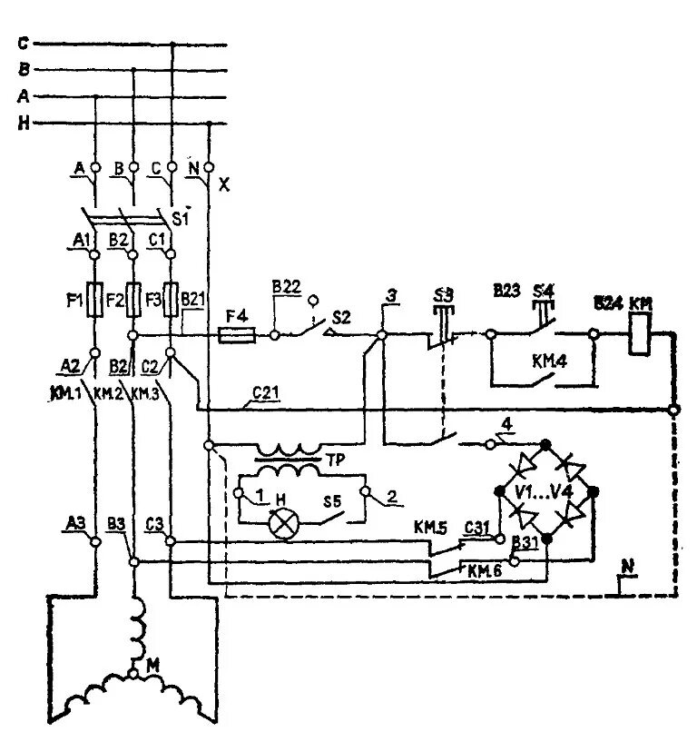
Подключение станков схема