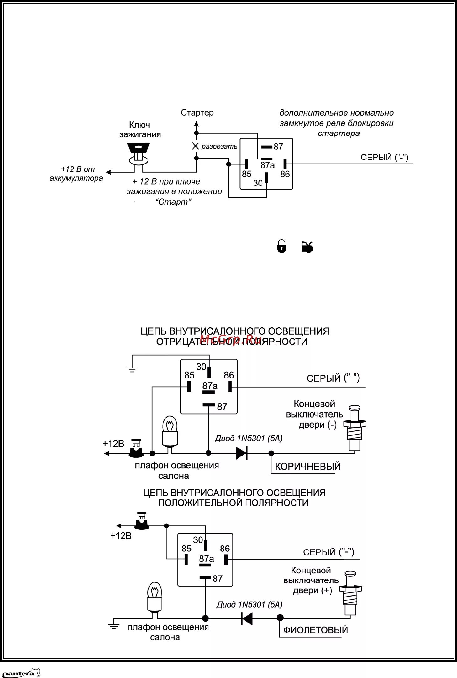
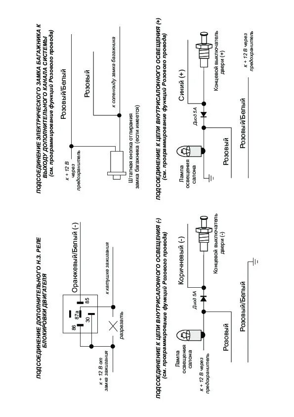
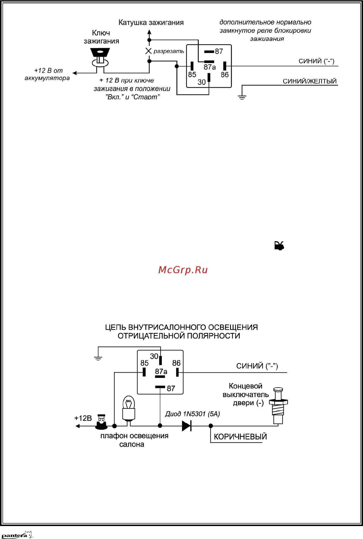
Подключение сигнализации пантера