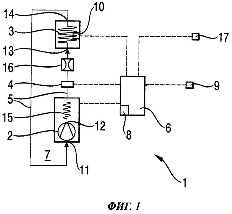
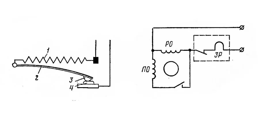
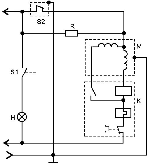
Подключение реле ртк