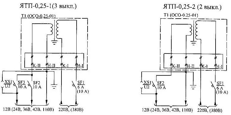
Подключение понижающего трансформатора