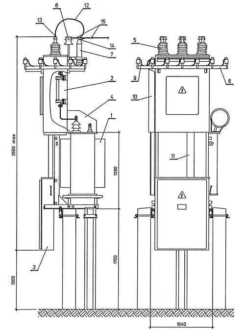
Подключение ктп