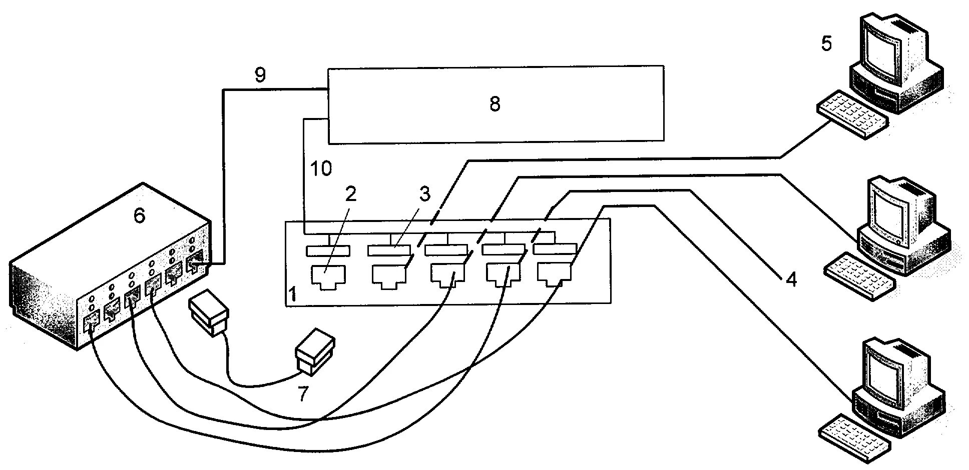
Подключение коммутированного соединения