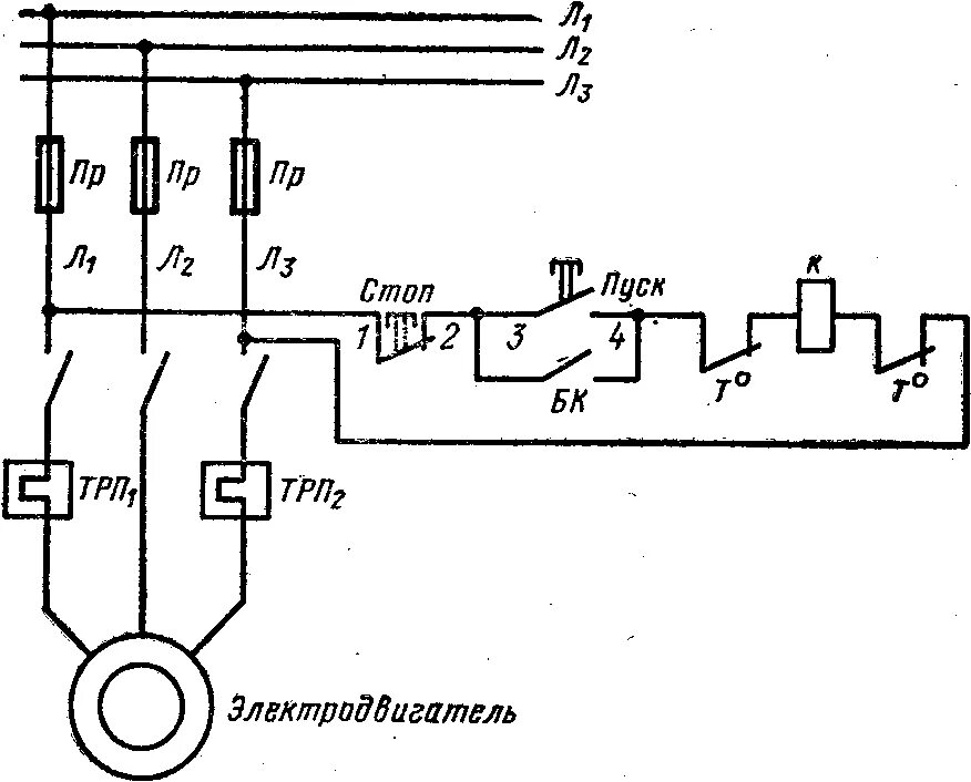
Подключение электродвигателя через тепловое реле