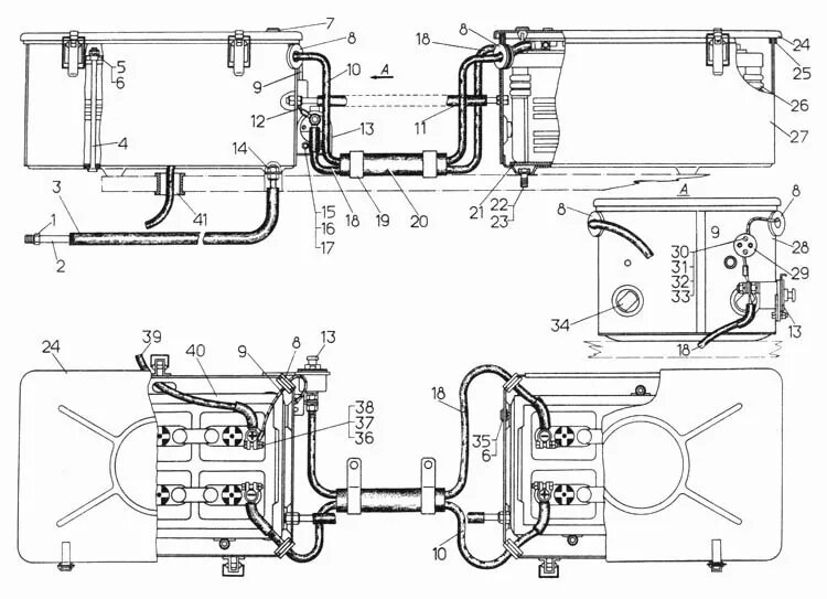
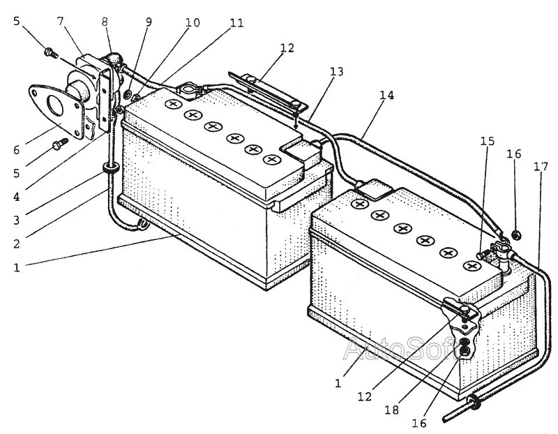
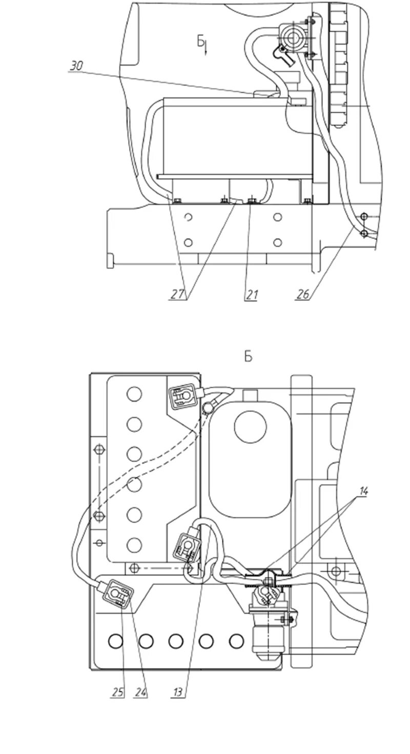
Подключение аккумуляторов на мтз