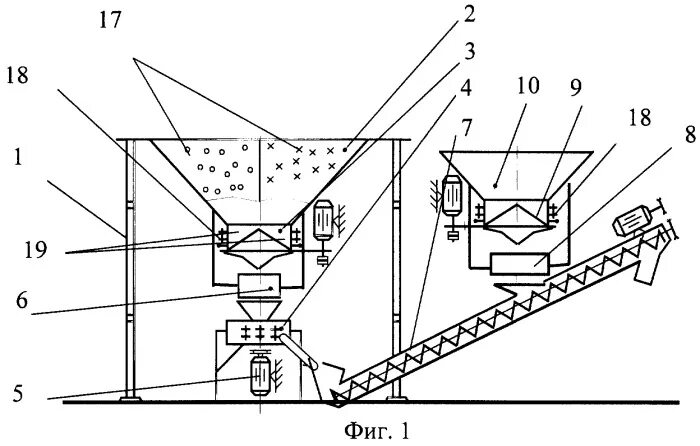
Подача сыпучих