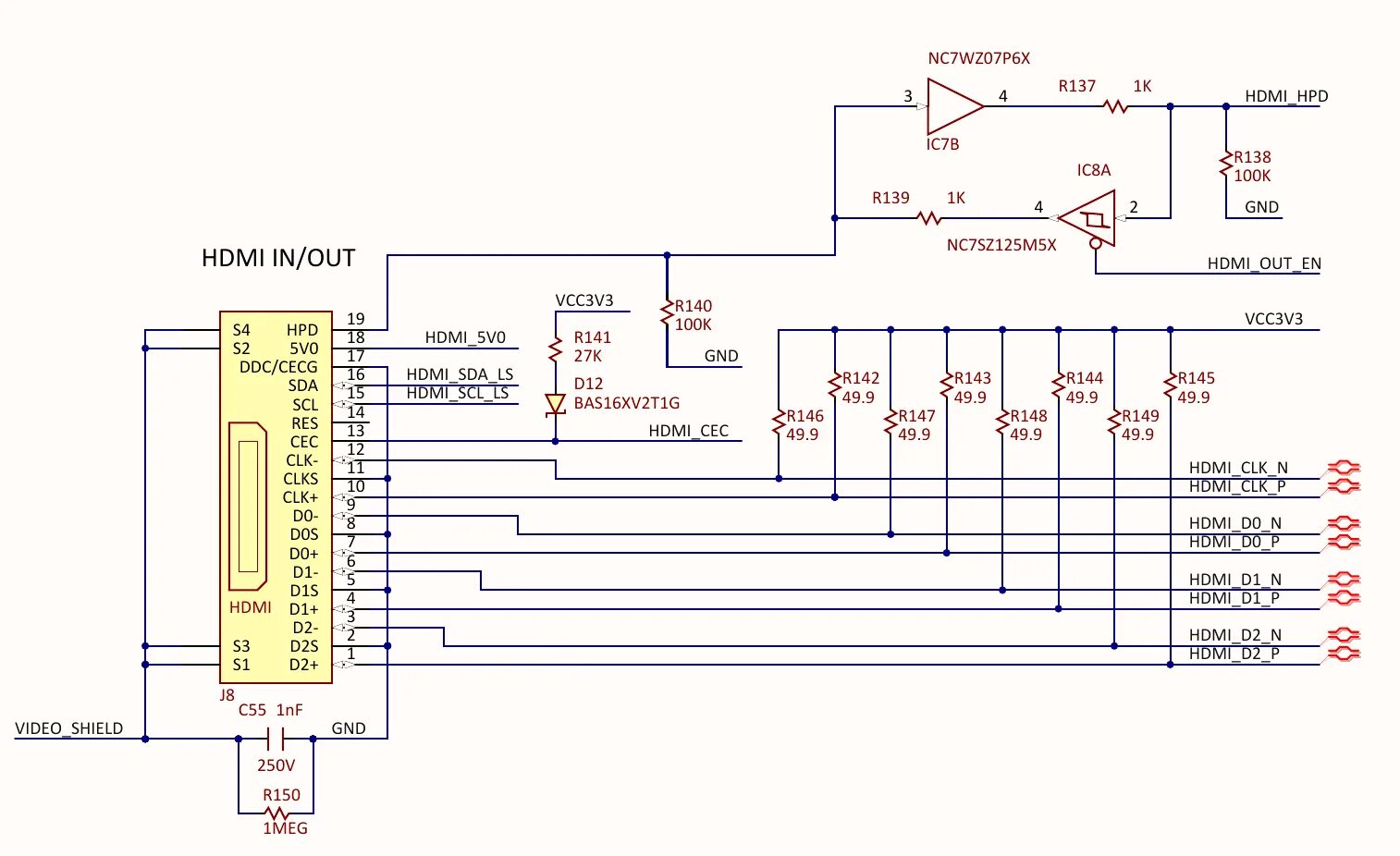
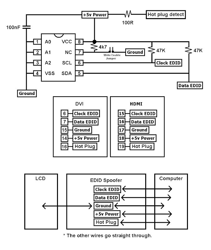
Plug detect