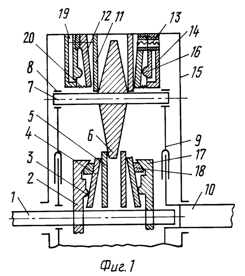
Планетарный вариатор