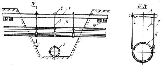
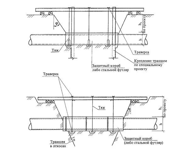
Пересечение траншей