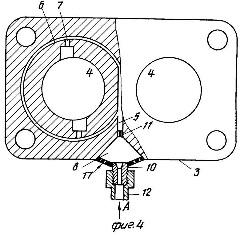
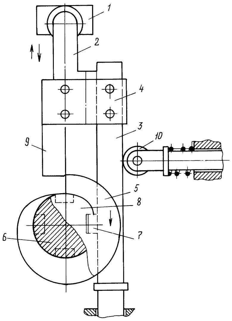
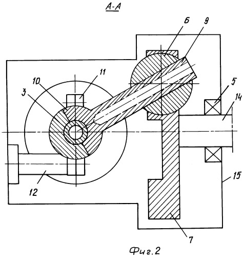
Патент на двигатель внутреннего сгорания