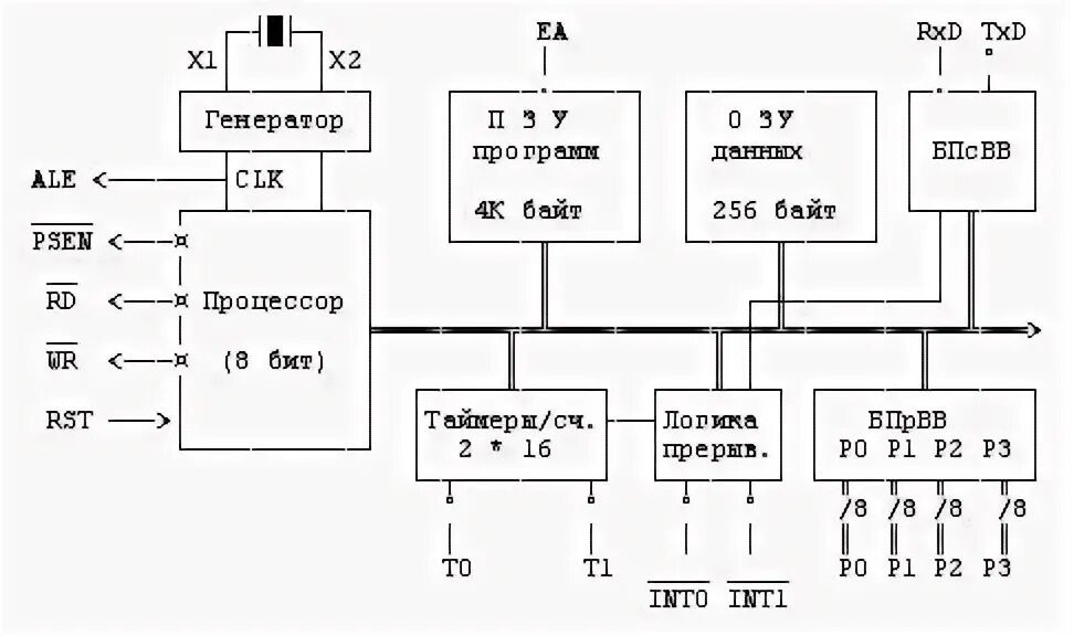
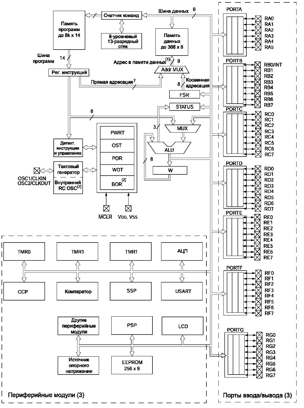
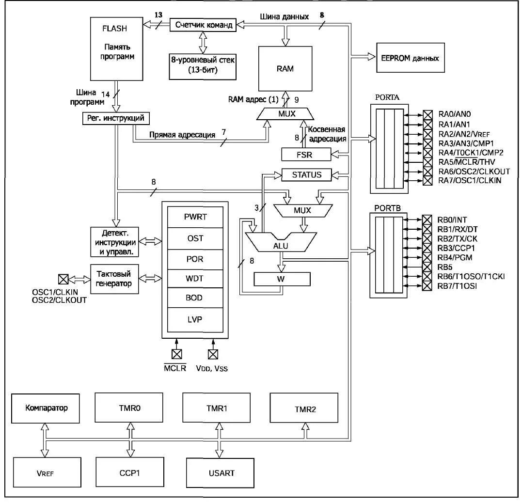
Память программ микроконтроллера