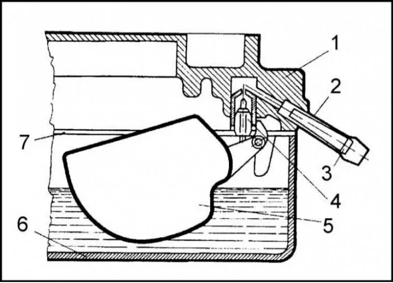
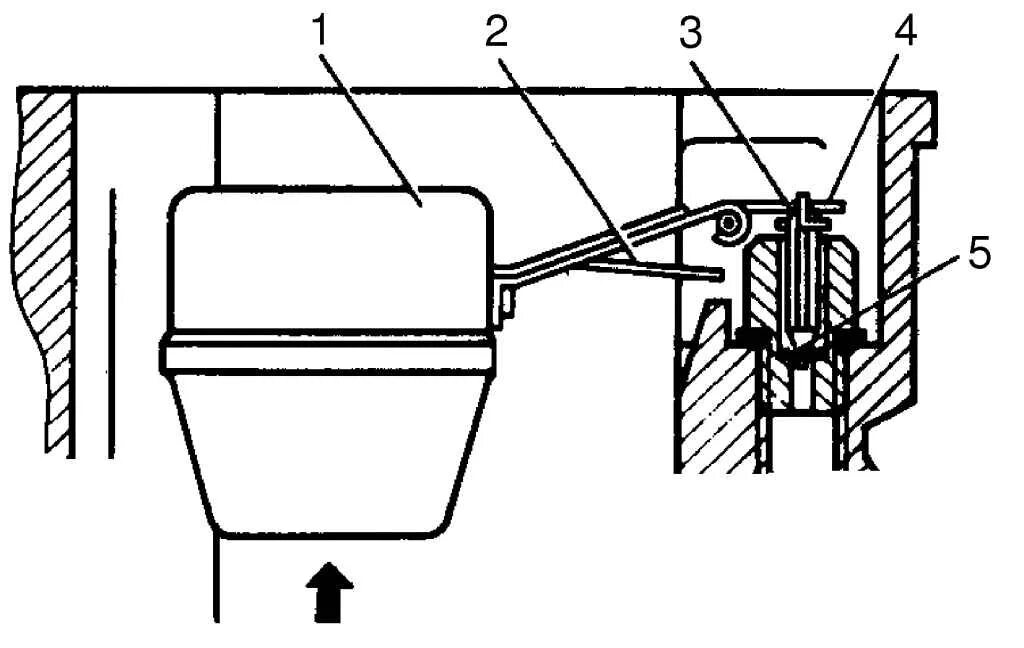
Отрегулировать уровень поплавковой камеры