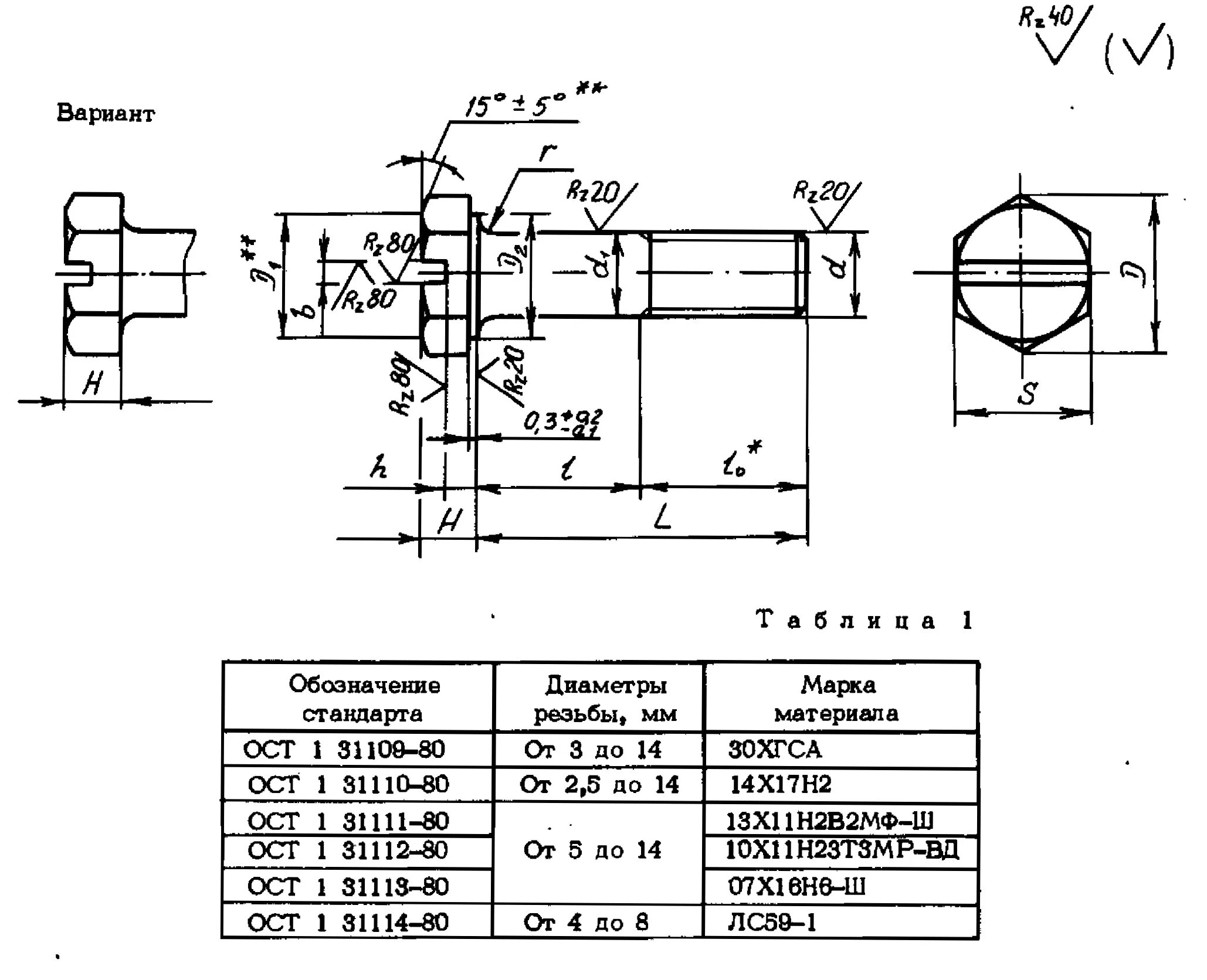
Ост три