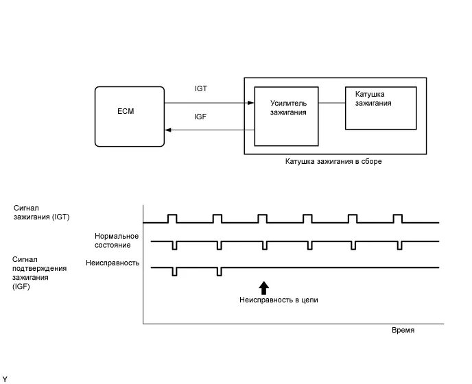
Ошибка неисправность электрической цепи