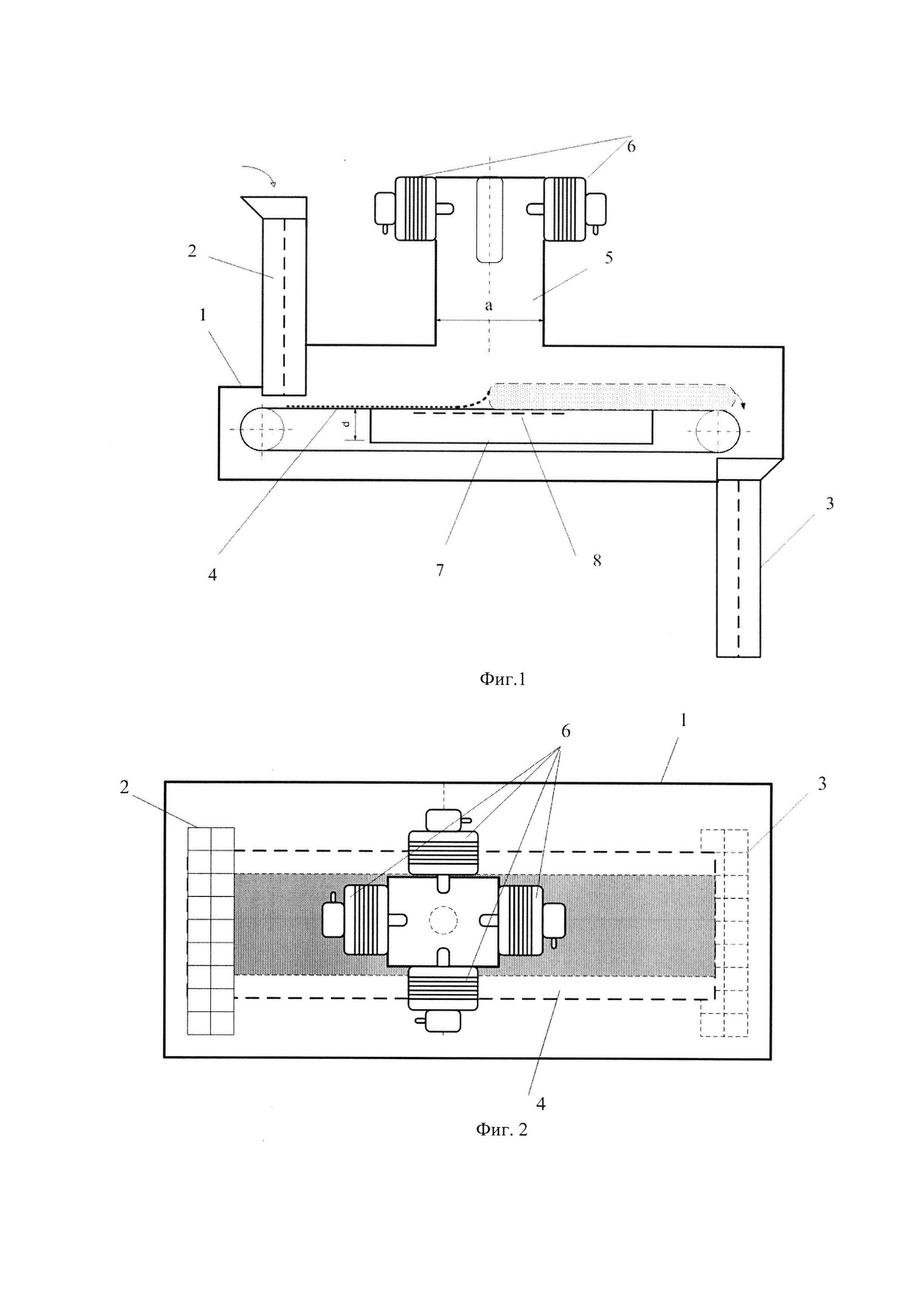
Определение коэффициента вспучивания